2019年11月28日,2019年中国现代办公行业年会在成都市中国西部国际博览城开幕。佳能(中国)有限公司再次强势出击,为办公行业用户带来自身在智能教育、高效政务、安全金融等3大领域的产品、技术及解决......
2019-11-29 关键字:2019年11月18日,佳能(中国)有限公司宣布推出4款腾彩PIXMA喷墨打印机新品,分别为:智能触屏照片一体机TS8380、智能时尚照片一体机TS6380、智能家用一体机TS5380以及智能无线一体......
2019-11-18 关键字:2019年11月18日,佳能(中国)有限公司宣布推出多款商用打印新品,其中包含5款A4幅面黑白激光打印机产品和2款腾彩PIXMA加墨式高容量商用打印一体机。......
2019-11-18 关键字:11月18日,佳能(中国)有限公司宣布推出瞬彩手机照片打印机拍照版ZV-123。新品在功能上增设了800万像素摄像头以及闪光灯和补光灯,可以随时记录身边精彩和感动的瞬间影像,并第一时间打印成为漂亮的纸......
2019-11-18 关键字:近日,佳能(中国)有限公司(以下简称“佳能”)与得力集团有限公司(以下简称“得力”)全面战略合作伙伴签订仪式在得力集团总部隆重举行。佳能(中国)有限公司董事长兼首席执行官小泽秀树先生与得力集团有限公司......
2019-11-13 关键字:2019年11月5日,第二届中国国际进口博览会(以下简称“进博会”)在国家会展中心(上海)开幕。连续两届参展的佳能,以“轻松商务 自在佳能”为主题,展示了佳能面向中国商用市场推出的各类产品、技术及解决......
2019-11-06 关键字:10月20日消息,近日据外媒canonrumors报道,佳能最新推出了5款传感器,分别为1200万像素1英寸、1200万像素1/1.7英寸、2800万像素1/2.32英寸和934万像素super35m......
2019-10-20 关键字:日常拍摄中,相机的画质尤为重要。虽然EOS M6 Mark II在体积上进行了小型化,但在画质方面却没有缩水。3250万的像素配合上全像素双核对焦技术,既可以保证了画质又可以提供给用户快速精准的对焦。......
2019-10-08 关键字:作为EOS M6的后继者,EOS M6 Mark II无论是像素还是视频分辨率解码,都有着全面的升级。由于集成了整个系列最好的设计和数码技术,EOS M6 Mark II也可以被视为目前整个M系列的巅......
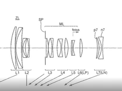
2019-09-29 关键字:9月21日消息,据外媒UPDATE DC报道,近日佳能曝光了两款RF大变焦镜头的专利,这两款镜头分别是RF 70-400mm f/4.5-5.6L IS USM和RF 70-300mm f/4-5.......
2019-09-21 关键字: