如今,越来越多的人开始用短视频方式记录自己的生活点滴,Vlog正成为最受年轻人欢迎的生活演绎方式,而拥有一台好的设备才能让你事半功倍,拍出高质量的vlog内容。具备触摸翻转屏、轻便小巧、高性价比等优势......
2019-08-12 关键字:日前,备受瞩目的第二届中国国际进口博览会进入倒计时100天,相关系列活动相继展开,其中在第二届进博会面向食品及农产品、医疗器械及医药保健展区的展前供需对接会上,佳能1介绍了本次参展的CT、MRI、超声......
2019-08-07 关键字:8月3日消息,在今年七月份之前,佳能5Ds/5DsR一直凭借其50.6MP像素稳坐全画幅像素之王的宝座,而在索尼推出61MP像素的A7R IV之后,50.6MP像素就显得有些逊色。近日外媒The Ne......
2019-08-03 关键字:党的十八大以来,我国印刷业全面深化供给侧结构性改革,智能绿色融合新动能不断培育壮大,从高速度发展转向高质量发展,绿色、智能印刷战略成为主流趋势。近期,由国家新闻署主办的2019中国印刷业创新大会以“聚......
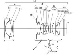
2019-08-02 关键字:8月2日消息,此前就有消息传出,佳能将在明年推出RF卡口的35mm f / 1.2定焦镜头,而近日外媒canonwatch又曝出了佳能此前申请的关于这种镜头的专利。据悉,此款镜头将能更好地抑制色差,具......
2019-08-02 关键字:7月30日消息,据外媒canonrumors报道,佳能近日发布了新版本的DPP(Digital Photo Professional )和图片风格编辑器(Picture Style Editor)。......
2019-07-30 关键字:2019年7月9日,佳能正式发布了PowerShot G7 X Mark III相机。配置方面,这款机器采用了2010万像素1英寸堆叠CMOS传感器,同时搭配了DIGIC 8处理引擎,同样也可以获得3......
2019-07-30 关键字:7月26日消息,据canonwatch报道,近日佳能在日本申请了EF-M 12-48mm F1.8-4镜头专利,专利编号为2019-120821。据悉,这款镜头将适用于佳能EOS M系列无反相机。......
2019-07-26 关键字:7月24日,佳能集团发布2019年第二季度财报。据财报显示,2019年第二季度佳能集团营业额同比降低10%,为9,058.69亿日元。其中,医疗领域稳步扩大,销售额对比去年同期增长11%。彩色数码复合......
2019-07-25 关键字:7月24日消息,据新摄影网报道,近日佳能0101商城上新了一批官方翻新相机和镜头,正式进军二手相机市场。......
2019-07-24 关键字: