9月16日,佳能(中国)有限公司在赣州宣布,与当地核心经销商赣州腾业共同启动全国首家采用“销售服务一体化”新模式的佳能形象店。围绕我国发展地方数字经济的号召,开启新一轮区域下沉的战略步伐。......
2019-09-17 关键字:佳能M6的体型非常小巧,机身尺寸约为119.6×70×49.2毫米,整机重量也约合408克(含电池储存卡),依旧保持着无反相机的轻便的身材,相机采用橡胶蒙皮+金属机顶的设计。......
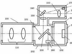
2019-09-12 关键字:9月8日消息,在这个相机层出不穷的市场上,无反相机已经成为新兴之选,但是据DCFever报道,佳能正在研发一种可以将无反相机转换为单反相机的转换器。......
2019-09-08 关键字:2019年9月4日,佳能(中国)有限公司宣布推出11款A4幅面激光打印机新品,其中包括5款多功能彩色激光一体机iC MF746Cx、iC MF742Cdw、iC MF645Cx、iC MF643Cdw......
2019-09-04 关键字:8月29日消息,佳能最新发布了两款全新的数码相机 EOS 90D 单反数码相机和 EOS M6 Mark II 无反数码相机。......
2019-08-29 关键字:佳能G5 X Mark II的优势在于具备无裁切4K和优秀的便携性,机身配备了可弹出式取景器,减少体积的同时能减少使用时的视觉差,并且在纤薄的机身中加入5倍光学变焦镜头,无论是画质还是实用性都能满足摄......
2019-08-22 关键字:佳能还与世纪汉唐影视集团进一步深化了4K领域的合作,通过一系列佳能4K专业影像设备助力世纪汉唐扩充4K转播车队伍,从而推动世纪汉唐迈入全4K超高清新时代。......
2019-08-21 关键字:近日,佳能(中国)有限公司再度携手创业邦共同为创业者赋能,双方联合举办“创赢未来”——城市路演挑战赛,最终决赛在北京圆满落下帷幕。创业邦董事总经理、创业邦天使基金合伙人方平潮等莅临现场并担任比赛评委,......
2019-08-16 关键字:2019年8月16日,佳能(中国)有限公司宣布推出LV-WU360、LV-WX370以及LV-X350三款便携式液晶投影机新品。三款新品均采用了寿命可长达约20,000小时的长寿命灯泡,将亮度提高到了......
2019-08-16 关键字:关于随身相机的购买方案,每个人都有自己的一套小算盘。相机太沉影响出行体验,手机在不少场景下又无法满足拍摄需求。如果相机能兼顾轻便与实用,那真的再好不过了。为了解决这个难题,佳能迷你单反EOS 200D......
2019-08-13 关键字: