索尼当前比较热门的微单有NEX-3N、NEX-5R、NEX-6、NEX-7,这些也是目前索尼主推的微单相机。这四台微单相机到底适合什么样的人购买呢?不管你是摄影新手还是摄影爱好者对这些应该都应该会想简......
2013-05-22 关键字:IT168网友叶学斌hiro 提问@IT168数码影像 nex 5r 跟 nex 6 选择哪个 他们值不值得两千的差价 本人学生 请主页菌回答 谢谢啦所以我觉得NEX-6更符合传统用户的使用习惯——眼......
2013-05-21 关键字:去年奥林巴斯和索尼建立了业务联盟和资本联盟,但是“不同于以往的"合作却迟迟没有到来。不过据可信来源,奥林巴斯将得到新的一代的索尼传感器与传感器相位检测AF技术来为未来的高端OM-D提供更加吸引人的亮点......
2013-05-21 关键字:佳能EOS M从上市之初就一直有着不错的销售业绩,但是这款佳能第一台无反光镜相机也有着非常明显的缺点——对焦速度不行。之所以卖得好在笔者看来完全是因为佳能品牌的效应,以及佳能在单反用户中的占有率。不过......
2013-05-17 关键字:网友fan_hoo提问:近期内想买部微单,但不知道怎么选择。主要用于拍风景同人物,预算大概在3000~3500这个范围内。你觉得索尼Nex-3N怎么样?应该选哪款呢?给点建议吧。索尼NEX-3N几乎有......
2013-05-16 关键字:索尼NEX-3N几乎有所有的索尼相机拍摄功能。比如,手持夜景可以帮你在天蒙蒙亮之前就可以不需要用三脚架拍摄出清晰稳定的照片。一般您早起爬山看日出肯定周围挺暗的,要是为了拍清楚再背一个三脚架也太累了。再......
2013-05-16 关键字:微博网友墨瀋流光_Jhong你好,我想学习摄影。想买微单,请问是Sony NXE 5RL好呢?还是佳能的EOS M 好呢?谢谢你!我是新手,什么都不懂,更不懂参数,只知道比较像素.Sony 1650万......
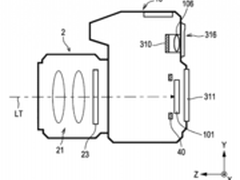
2013-05-15 关键字:昨天SR和大家分享了关于索尼最新无反相机的两个重要信息:1、A卡口的APS-C机型将采用无反光镜设计,但是全画幅会不会也采用无反光镜设计目前还不清楚;2、A卡口的APS-C和全画幅机型都将会在2014......
2013-05-15 关键字:据sonyalpharumors报道,今年夏天已经开始规划A卡口新的全画幅相机和APS-C画幅相机的路线图。过去的几个月我们一直有听到关于A卡口将要变革的消息,新发布的相机将会是A77的后续机型,并且......
2013-05-14 关键字:传闻中三星是确有一款全画幅无反光镜相机的,这一点也一直引起摄影界的关注。三星虽然是影像的后来者,但是凭借自己深厚的实力(卖手机真的赚了很多钱),在影像方面的表现也是越来越好,大有赶超日系厂商之势。同时......
2013-05-14 关键字: