VR可以为用户带来更沉浸的体验,它将用户送入视频和音频环境中。以前的技术会在用户眼前放置一块屏幕,展示常规视觉图像,VR不同,用户可以在VR中四处观看场景,可以与环境互动。......
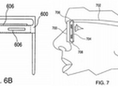
2016-09-02 关键字:9月1日消息,据国外媒体报道,美国商标专利局官网日前公布了苹果的一项手机VR盒子专利,和三星Gear VR有点类似。......
2016-09-01 关键字:正如宋海涛博士所认为的,其他VR公司从整机做起,没有核心实力。手机厂商进去以后,这些企业没有供应链优势,成本自然没有手机厂商低,品质质量可能没有手机厂商好,渠道手机厂商拥有无数家门店,渠道没优势。内容......
2016-09-01 关键字:经过多年的等待,消费版VR头盔Oculus Rift CV1总算走向了市场。Oculus Rift CV1配备两块1080x1200分辨率的OLED显示屏,安装定制菲涅耳透镜。头盔的设计符合人体工程学......
2016-09-01 关键字:还记得那些年上计算机课偷偷摸摸玩过的《扫雷》游戏吗,既《贪吃蛇》推出VR玩法后,而日前,一款《扫雷VR》也上架了Steam,游戏中可以感受到真实的排雷体验,插错旗子爆炸就在一瞬间。......
2016-09-01 关键字:经过多年的等待,消费版VR头盔Oculus Rift CV1总算走向了市场。Oculus Rift CV1配备两块1080x1200分辨率的OLED显示屏,安装定制菲涅耳透镜。头盔的设计符合人体工程学......
2016-09-01 关键字:昨日,Caliber VR在其举行的线下产品体验会上,向现场的几十家媒体和VR内容开发商展示了移动VR位置追踪与交互设备工程机Cobb,并设立体验区让在场的媒体和VR内容开发商体验。据了解,Cobb的......
2016-09-01 关键字:《南方公园》是一部比较具有讽刺意味的美国动画片,这部动画片主要是通过歪曲式的摹仿来讽刺和嘲弄美国文化和社会时事的各个方面。育碧则根据这部动画片打造了游戏《南方公园》系列。......
2016-08-31 关键字:现今VR产品主要包括三种连接形态,包括手机端、PC端、以及独立式,而其中又以连接PC端的VR产品使用体验最为优异,也最受大众欢迎;相比PC端VR产品,尽管其他两种产品整体性能和体验不及PC端,但更加独......
2016-08-30 关键字:提到英菲克,可能大多数人的印象还停留在电视盒子上,毕竟作为行业老牌大厂,产品的销量以及口碑都是业内领先的。不过在日新月异的时代,不进则退,面临着市场的挑战和机遇,英菲克选择主动突击,也推出自家全新VR......
2016-08-30 关键字: