拍照手机却是一派勃勃生机,各大手机厂商你方唱罢我登台,一次又一次颠覆了手机拍照技术,不断挤占传统相机市场。今天,小编就带大家一起看看“不务正业”的手机厂商们是如何逆袭传统相机制造巨头的。......
2017-11-13 关键字:2017年是尼康诞生的第一百年。D850作为一台“百年献礼机”,还未正式发布便受到了万千关注。一方面大家都很关注机器,关注它究竟能给我们带来多少惊喜;一方面大家也都很关注尼康,市场走低加上流年不利(泰......
2017-11-13 关键字:我们依旧使用IT168评测室场景,测试一下尼康D850的高感表现。相机置于三脚架上,光圈F8,固定白平衡,关闭一切机内降噪优化,使用最高规格JPEG格式拍摄。取各档ISO下图中红框所示位置的100%放......
2017-11-08 关键字:梅赛德斯-奔驰中国国际时装周(2018春夏系列)于2017年10月29日-11月7日在北京华丽上演。来自全球的众多极具有影响力的大牌时装设计师、超模以及时装品牌汇聚北京,共同上演精彩纷呈的年度时装大秀......
2017-11-07 关键字:我们照旧使用IT168评测室场景,测试一下尼康D850宽容度。相机置于三脚架上,ISO64,光圈F8,固定白平衡,关闭一切机内降噪优化,最高规格RAW格式拍摄。手动曝光分别取欠曝5档、4档、3档、2档......
2017-11-07 关键字:近日,捷克最大电商已经将尼康D610以及套装列入停产名单,不过在其他地区依然有售。尼康D610发布于2013年的10月,相较于其前代D600改进甚小。而D610到今天也有4个年头没有更新了,或许这一“......
2017-11-02 关键字:尼康D7100发布于2013年2月,并于同年3月开始销售。目前,尼康日本官网已将D7100标注为旧产品。但在国内市场,D7100仍然有比较充裕的库存。......
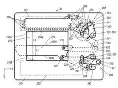
2017-11-01 关键字:近日,尼康全新的相机快门专利被曝光。专利显示,这是一款适用于无反相机系统的机械焦平面快门。虽然不知道该专利是否会真的使用在尼康新的无反相机上,但至少证明了尼康确实有意发力无反相机。......
2017-10-31 关键字:相机到底去哪儿买,其实是摄影最常被问到的一个问题。中关村?(千万别)京东?(请往下看)下周要去日本,要不要在日本买买一个?以上是本篇文章要解释的问题。......
2017-10-25 关键字: