尼康近日在日本公布了全新的多光圈运算相机专利技术。据专利描述文件显示,相机将会配备四个不同的传感器,并搭配四种不同的镜头。尼康的这项技术未来会被应用到自家的消费级卡片相机当中。......
2016-08-11 关键字:据悉索尼熊本工厂逐步恢复,新一代铜工艺CMOS(A7RII、RX1RII、A6300、RX100M4、RX10M2和RX10M3)和中画幅CMOS(5000万像素/1亿像素)已复产。CMOS生产出来后......
2016-08-11 关键字:尼康D7200拥有高性能自动对焦和更强的连拍能力,可以轻松应对任何环境条件。不会给女朋友拍照可不是一个合格的男票,还等什么,尼康7200绝对可以成为你的撩妹神器。目前在国美仅售6238元,赶快下单吧。......
2016-08-10 关键字:尼康D5500继承了尼康的高级成像技术和创意技术,将触摸屏的便捷、Wi-Fi的灵活性和机身的轻便集于一体。轻触一下就能拍出极其生动并富创意的照片,还可通过智能设备即刻分享。D5500的碳纤维一体式结构......
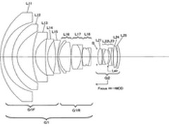
2016-08-08 关键字:尼康没有17移轴一直是一个遗憾,不过近日尼康在日本公布了一款镜头专利,据专利描述文件显示,这是一款Nikkor PC-E 19mm f/4移轴镜头。这款镜头很可能会在今年的Photokina展会上或在......
2016-08-02 关键字:105mm这个焦段呢,其实说长不长,说短也不短,但确实是在摄影历史上一个比较经典的人像镜头焦段。这一次尼康推出的F1.4光圈的105mm镜头也旨在攻克人像领域。但是,我要说但是了,包括我本人一开始都很......
2016-08-01 关键字:尼康D610作为D600的升级款,保持了优异的画质表现力,并拥有着不错的操控性。而补强的连拍性能以及机身防护性能,还是让消费者购有所得。因而对于一位想要全画幅来入门,或者升级手头的非全副机身的朋友而言......
2016-08-01 关键字:尼康D750是最新发布的均衡型全画幅单反,良好的画质表现,更多的扩展功能,配置均衡,并且首次搭载了WiFi及翻转屏,整机采用轻量化、小型化设计,是一款亲和力十足、让人有拍摄欲望的全幅单反。D750是非......
2016-08-01 关键字:眼看今年已经过半,在上半年中尼康已经靠D5和D500两款重量级新品带给我们不小惊喜,那么在下半年他们会有什么计划呢?近日,尼康在中国注册了一款代号为“N1546”的相机,通常情况下这意味着近期内这款新......
2016-08-01 关键字:尼康最近新闻不断,刚刚发布了大光圈中远摄定焦镜头AF-S尼克尔105mm f/1.4E ED。又在官网曝光了未正式发布的两枚镜头,分别为AF-P DX NIKKOR 70-300mm f/4.5-6.......
2016-07-28 关键字: