富士如期发布了早前传闻中的新款入门级APS-C画幅无反相机X-A3。新机搭载了一块2420万像素的APS-C画幅CMOS,并搭配富士EXR Processor II图像处理器,感光度最高可达25,60......
2016-08-26 关键字:镜头方面4倍手动光学变焦镜头,镜头最大光圈达到F2.0-F2.8,得益于富士龙镜头的超高光学性能,这枚镜头在抗眩光、畸变、色散等方面都具有出色的表现,与COMS的结合之下,可获得非常出色的画面表现。?......
2016-08-25 关键字:富士将今日召开新品发布会,推出新款XF23mmF2 WR镜头以及X-A3相机,不过两款产品的详细规格和信息已经曝光。其中新款XF23mmF2 WR镜头采用10片6组光学结构,内含2片非球面镜片和9片光......
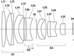
2016-08-25 关键字:富士近日公布了新款镜头专利,根据专利描述文件显示,这是一款100mm f/2规格的无反镜头。另外值得注意的是,该款镜头适用于1英寸画幅传感器,但是目前并没有使用此类传感器的富士机身,这是否意味着富士将......
2016-08-23 关键字:近日,富士X-A3图像以及参数正式曝光。从图中可以看出X-A3有三种颜色可选,分别是黑色,棕色以及粉色。据悉富士X-A3将于本月25日正式发布。......
2016-08-23 关键字:富士X-T10背部为3英寸92万像素的可翻折式LCD显示屏,既适合拍摄高角度照片、也适合拍摄接近地面的低角度照片,机身共有黑色或银色两种机身颜色可选。X-T10机身上的两个指令拨盘和七个功能按钮均可定......
2016-08-22 关键字:今年年初,富士发布了X-Pro2之后。人们对X-T2的关注度越来越高。然而,受困于熊本地震的影响,X-T2的发布日期则被一拖再拖。终于,富士在上个月正式发布了X-T2旗舰级无反相机。新机搭载2430万......
2016-08-21 关键字:虽然距离富士X-A3和23mm f/2 R WR Asph镜头发布还有一段时间,但今日两款产品的部分规格已提前在网络上曝光。据悉,富士X-A3将采用2430万像素APS-C画幅传感器,配备3英寸180......
2016-08-19 关键字:富士在7月7日正式发布了新款旗舰无反相机X-T2。新机搭载2430万像素APS-C画幅X-Trans CMOS和X Processor Pro处理器,配备256分区测光系统、325点混合式自动对焦系统......
2016-08-19 关键字:富士在7月7日正式发布了新款旗舰无反相机X-T2。新机搭载2430万像素APS-C画幅X-Trans CMOS和X Processor Pro处理器,配备256分区测光系统、325点混合式自动对焦系统......
2016-08-18 关键字: